В этой статье перечисляется ряд анкерных устройств, разработанных и внедренных в рамках научно-производственного предприятия «НПП СК МОСТ», которые используются в мостостроении или при ремонте и реконструкции мостовых сооружений.
Конструкции, о которых пойдет речь, защищены патентами, прошли лабораторные испытания, имеют многолетнюю апробацию, выдерживают многотонную нагрузку, как на статику, так и на динамику. Некоторые анкера используются как отдельные соединения, а ряд из них входит в систему, например, для преднапряжения железобетонных конструкций.
К таким анкерам относятся цанговые захваты и обоймы, разработанные в рамках новой системы для высокопрочных прядей Ø18 мм. Во всех существующих проектах применяется высокопрочная арматура в виде прядей Ø15 мм и соответственно широко используются анкера и домкраты под 15-миллиметровый стандарт по всему миру.
Однако в самых неуязвимых местах приходится использовать пряди Ø18мм, которые по несущей способности превосходят обычные 15-миллиметровые на 30-40% на растяжение, на разрыв. Из отечественных металлургических заводов 18-миллиметровые пряди производит «Северсталь-Метиз» в Череповце, а продажи начались только после разработки ООО «НПП СК МОСТ» специальной системы преднапряжения по 18 мм. Таким образом, роль анкеровки очень велика.
Другим ярким примером является анкер для крепления пролетного строения мостового сооружения к телу опоры.
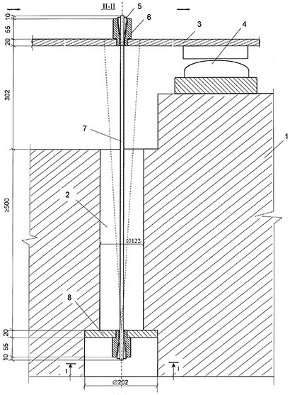
Такие анкера используются при строительстве мостовых сооружений в сейсмических районах, они еще часто называются антисейсмические. Анкер был разработан в 2000 году сотрудниками бывшего института «СОЮЗДОРНИИ» для Московской монорельсовой дороги на ВДНХ. Необходимость гибкого крепления из пряди была вызвана особенностью металлического пролетного строения и вагонного состава. Обычно пролетное строение обладает весом, намного превосходящим вес нагрузки, а в данном случае вагоны монорельсовой дороги на криволинейных участках оказывают эффект опрокидывающего момента, и балки пролетного строения прижимаются анкерами. Патент № 2209869 от 26.02.2002 г.

Устройство анкерного крепления пролетного строения к опоре мостового сооружения

1 — опора; 2 — ригель; 3 — пролетное строение; 4 — нижний пояс; 5 — подвижная или неподвижная опорная часть; 6,13 — отверстия; 7 — вертикальный натяжной элемент; 8 — верхний анкерный зажим; 9 — нижний анкерный зажим; 10 — анкерная плита; 11 — верхняя направляющая втулка; 12 — нижняя направляющая втулка; 14 — трехлепестковый цанговый конус; 15 — обойма; 16 — центральное коническое отверстие; 17 — центральное отверстие; 18 — сквозной канал; 19 — углубление.

Обойма

Трехлепестковый конус
Другой очень важной темой в мостостроении является элемент объединения железобетонной плиты со стальными металлическими балками в сталежелезобетонных пролетных строениях или включения в совместную работу слоев дорожной одежды со стальной ортотропной плитой. Подобных упоров очень много, одни работают в распор, другие выполняются в виде гребенки, но самый распространенный в последнее время является упор «Нельсона». С точки зрения автоматизированного процесса такие упоры победили все остальные системы объединения, однако с точки зрения работы в бетонной конструкции, конечно, уступают объединению с периодической арматурой. Патент № 145339 от 08.05.2014 г.

Стальная ортотропная плита
Анкера изготавливаются из обычной стержневой арматуры периодического профиля Ø12-16 мм на изгибающем станке и крепятся очень просто, металлическими гвоздями, и к железобетонной плите, и к металлической плите в шахматном порядке. Данный анкер удобен для выполнения слоев дорожной одежды на ровных участках из фибробетона или при использовании литого асфальтобетона.
Особую роль такой анкер может сыграть при применении на стальной ортотропной плите, на разводных пролетах в Санкт-Петербурге, где обычно для надежности (из опыта) приваривают арматурные упоры.
В 2014 году был защищен патент № 145339. В те же годы произошла в дорожной отрасли еще одна диверсия. Было решено, что институт «СОЮЗДОРНИИ» не нужен, его разрушили и построили жилые дома, тем самым уничтожив главную испытательную базу дорожно-мостовой отрасли. Исчез самый главный испытательный стенд для мостовых конструкций.
Спустя годы был разработан и внедрен новый испытательный стенд на территории ООО «НПП СК МОСТ», в котором самый главный узел — это «силовой пол», который на несколько метров уходит под землю, а испытываемая конструкция отталкивается от стенда при помощи анкерного устройства под кодовым названием «молоток», на которое оно внешне похоже. Патент № 150003 от 26.08.2014 г.

Это стало основой для нового испытательного-нормативного центра для мостовых конструкций, где сегодня испытывают на многократную нагрузку новый деформационный шов отечественного производства «СК Кар» из гладкотянутых цельных металлических профилей, мостовой стали 09Г2С.
В.Ю.КАЗАРЯН, генеральный директор ООО «НПП СК МОСТ»
Номер публикации: №30 12.08.2022
